氮化爐結構、工作過程、工作原理和生產應用
摘要:氮化爐又稱為氮化熱處理爐,主要用于金屬的氮化處理,相比其他設備具有處理溫度低,時間較短,變形較小的優點.
氮化爐又稱為氮化熱處理爐,主要用于金屬的氮化處理,相比其他設備具有處理溫度低,時間較短,變形較小的優點。經氮化處理的制品具有優異的耐磨性、耐疲勞性、耐蝕性及耐高溫的特性,氮化后的產品氮化均勻、質量穩定。

氮化爐
氮化爐主要結構
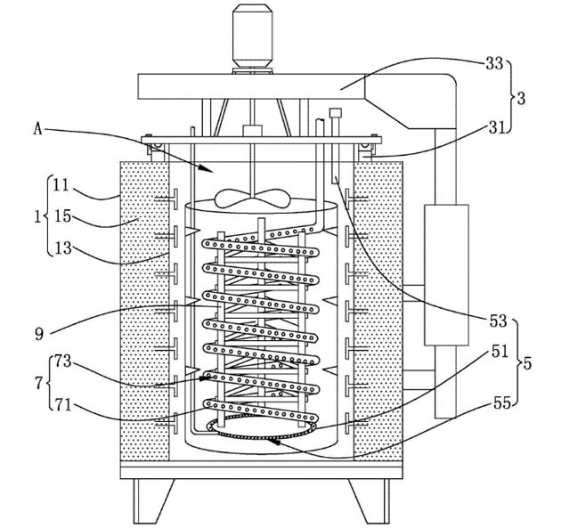
氮化爐包括爐體、爐蓋、通氣裝置、冷卻裝置以及物料架,爐蓋配合爐體蓋接于其上并圍成一收容空間,通氣裝置、冷卻裝置和物料架收容于爐體內,物料架包括托盤和多個支撐桿,支撐桿與爐體固定連接,多個支撐桿支撐托盤設于收容空間內,托盤包括多個導流槽和多個呈陣列設置的通氣孔,導流槽連通相鄰兩個通氣孔。

井式氮化爐結構圖
托盤還包括靠近爐體頂部的頂面、與頂面相對設置的底面、以及連接頂面和底面的側面,通氣孔貫穿頂面和底面,導流槽自底面向頂面凹陷形成,導流槽還連通通氣孔和側面。導流槽的槽寬為3-5mm,槽深為1-5mm。支撐桿包括立柱和限位柱,立柱與爐體固定連接并與爐體開口方向相平行,限位柱與立柱垂直連接,多個限位柱支撐托盤。爐體包括外殼、內殼、保溫加熱層,內殼設于外殼內,保溫加熱層設于內殼和外殼之間
工作過程
通氣裝置包括進氣盤管、通氣導管、以及向收容空間輸入氣體的多個中一氣孔,進氣盤管設于內殼底部,其一端與外部滲氮氣體輸送設備相通,通氣導管一端與收容空間相連通,另一端與外部環境相連通,多個一氣孔沿進氣盤管均勻貫穿設置。
冷卻裝置包括冷卻盤管和向收容空間排放冷氣的多個二氣孔,冷卻盤管螺旋狀圍繞物料架,多個二氣孔沿冷卻盤管均勻設置,二氣孔開口方向朝向物料架。
技術優勢
1、通過設置通氣孔和連接槽,使得進入爐體的氣體可以快速包圍需氮化的工件,同時增加托盤表面積,減少加熱冷卻的時間;
2、通過設置連接槽,使得進入爐體的氣體可以在連接槽的導流作用下,形成穩定氣流;
3、通過將連接槽設置于托盤的底面,使得從爐體底部進入的活性氮能通過連接槽的導流迅速進入通氣孔中;
4、通過設置限位柱,使得托盤可根據需氮化的工件尺寸自行設置。
氮化爐工作原理
工作溫度:硬氮化工作溫度一般在480℃到550℃之間,常用溫度在490℃到530℃,注意:活性氮的存活周期很短,如果沒有被工件吸附,會很快結合生成氮氣,失去活性。氮氣沒有任何滲氮能力。爐內氣氛組成:NH3、N2、H2。辨析:KN越大,氣氛的滲氮能力越強。觀點:KN與氮勢沒有嚴格的對應關系,KN高,滲氮能力不一定就強。比如氮化爐內氨氣很多,裂解的氨氣很少,雖然KN很高,但實際可用的活性氮較少,滲氮能力反而不強。
NH3=N+3/2H2的意思是:1體積氮氣和3體積氫氣在高溫高壓催化劑條件下生成2體積氨氣,其中的N為活性氮,起到滲氮作用。在同一個KN下,靠純氨氣分解形成的氣氛與用氨氣和裂解氨氣混合而成的氣氛是完全不同的。
滲氮前的氣體氮化爐必須是先經過正火或調質處理過的工件,先用汽油和酒精擦洗氣體氮化爐工件表面,不得有銹斑、油污、臟物存在。裝入爐內后,對稱擰緊爐蓋壓緊螺栓。將爐罐和爐蓋進水口通入冷卻水進行循環水冷。氣體氮化爐爐蓋上管道冷卻水下端為進水,上端為出水,爐罐單獨進水,單獨排水,爐蓋所有水管可按低進高出原則串聯,由一個口進水,一個口排水。氣體氮化爐升溫前應先送氮氣排氣,排氣時流量應比使用時大一倍以上。
排氣10分鐘后,將控溫儀表設定到150℃,自動加熱開關撥向開,氣體氮化爐邊排氣邊加熱150℃保持2h排氣,再將控溫儀表設定到530℃,把氨氣流量調小,保持爐內正壓,排氣口有較小氣流向上的壓力,當爐溫升到530℃時,恒溫恒流滲氮3-20h,再將氨氣
壓力調大一點,讓排氣維持適中壓力,滲氮4-70h, 再將氨氣壓力調小,退氮1-2h,切斷電源,給少量氨氣。
氮化處理生產應用
在實際生產中,通常采用氮化爐對金屬工件進行氮化熱處理加工。升溫過程中把氨氣瓶中的氨氣經過減壓閥,通過氨柜(氨氣干燥柜)通入氮化爐內。當氮化爐內達到要求溫度時,氮化過程就進入了保溫階段。根據氮化工藝規范,調節氨氣流量,保持溫度和分解率的正確和穩定。保溫結束、停電降溫時,必須繼續通氨氣,保持爐罐有一定的正壓,防止空氣進入使零件表面產生氧化色。對于一般零件,當罐內溫度降到450℃以下時,可將爐門打開加速冷卻。對變形要求較嚴的零件,可隨爐冷卻。
氮化處理共有三個過程
(1)隨著溫度的升高,氨的分解程度加大,生成活性氮原子;
(2)鋼表面吸收氮原子,先溶解形成飽和固溶體,然后再形成氮化物;
(3)氮從表面飽和層向鋼內層深處進行擴散,形成一定深度的氮化層。
傳統的氮化爐在零件氮化過程中,將需氮化處理的工件放入物料架中以集中氮化。但在大批量密集工件氮化時常因需氮化處理的工件大量放置于物料架上,干擾進入爐體體內的氮氣流動,氮氣分布不均勻,導致出現氮化不均勻,影響工件的質量,且氮化處理過程中加溫冷卻時間長,影響生產效率。
上一篇:臺車式退火爐構造、加熱技能、熱度會影響加工品質
下一篇:__
相關新聞
相關產品
|